2025-12-26418
热烈祝贺科海思喜获“湿法冶金回收铂族元素装置”“重稀土元素离子交换回收装置”两项专利授权。

近期国际金价持续攀升,国内金饰价格突破每克1400元,稀缺贵金属与战略金属价值备受关注。在此背景下,科海思成功获得湿法冶金回收铂族元素装置、重稀土元素离子交换回收装置两项国家实用新型专利。
两项技术精准破解“城市矿山”开发中的过滤器堵塞、重稀土氧化损耗两大痛点,构建起“高效回收+品质保障”的全链条服务体系,以创新技术赋能稀缺资源循环利用,助力企业实现经济效益与环保效益双赢。
价值重估下的行业命题:“城市矿山”成稀缺资源破局关键
近日,国际金价再创历史新高,国内金饰克价一夜之间突破1400元大关,市场热潮之下,不仅是黄金,铂族元素、重稀土等稀缺贵金属与战略金属的价值也迎来全球重估。
在资源供给趋紧、需求持续攀升的双重驱动下,如何跳出“挖矿找矿”的传统路径,更高效、更经济、更绿色地获取这些支撑现代工业发展的“核心命脉”,成为全产业链亟待破解的关键命题。
答案,藏在“城市矿山”的循环利用中。工业废水、冶炼废料、废旧器件中,蕴含着海量高价值金属资源,其开发成本远低于原生矿开采,且更符合可持续发展理念。
但长期以来,回收环节的技术瓶颈始终制约着“城市矿山”的价值释放——铂族元素回收中过滤器易堵塞、固液分离不彻底,重稀土储存中氧化损耗严重,这些痛点让大量珍贵资源白白流失。
科海思喜获两项专利,破解行业技术瓶颈
恰逢行业需求攀升之际,科海思凭借深耕稀缺金属回收领域的技术积淀,成功获得湿法冶金回收铂族元素装置、重稀土元素离子交换回收装置两项核心国家实用新型专利。
两项技术精准直击行业两大痛点,从回收效率与储存品质关键维度,打破“城市矿山”开发僵局,为稀缺金属循环利用注入强劲动能。
专利一:湿法冶金回收铂族元素装置——突破堵点,提效提质
直击行业顽疾:破解过滤器堵塞难题
铂族元素作为高端制造、医药、航空航天领域的“关键材料”,其回收价值堪比黄金。但传统湿法冶金回收技术中,强酸浸出过程会产生大量复杂沉淀物,这些沉淀物易在过滤器上积聚堆积,不仅导致过滤速度骤降、设备频繁堵塞,更会造成固液分离不彻底,直接影响后续回收效率与金属纯度,成为行业内难以攻克的“顽疾”。
技术创新:离心力分筛,从根源解决问题
针对这一痛点,科海思研发的湿法冶金回收铂族元素装置应运而生。该装置创新性地利用离心力作用,使浸出液中的固体残渣主动向罐体中心底部聚拢,同时实现按颗粒大小分批次集中过滤——大颗粒残渣优先分离,小颗粒杂质精准拦截,从而解决了过滤器堵塞问题,让固液分离更彻底、更高效,为铂族金属的精准回收提供了高质量的浸出液保障。

案例佐证:多领域落地,彰显技术实力
硬核技术实力,需用实战案例印证。该专利技术已在多行业成功落地,精准破解不同场景下的贵金属回收难题,实现环保与效益双提升:
—在安徽某科技公司除银项目中,高效处理含银30mg/L的工业废水,出水银含量稳定降至0.05mg/L以下,实现贵金属高效截留;
—在某黄金冶炼集团铼回收项目中,针对20m³/h的铼酸钠废水,将铼残留量严控在0.05mg/L以下,助力项目实现13亿元年产值;
—在四川某新能源企业三元锂电废水钴回收项目中,从容应对日处理900立方米的高盐废水挑战,出水钴含量稳定控制在1mg/L以下,破解锂电行业钴资源回收瓶颈;
—在某医药企业低浓度铂废水回收项目中,经深度净化后铂含量达到“未检出”标准,为医药行业贵金属循环利用筑牢技术根基。
从银、铼到钴、铂,多场景、高标准的落地成果,充分印证了科海思该专利技术的成熟度、可靠性与广泛适配性。

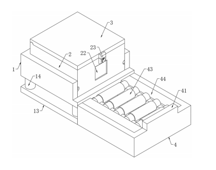
专利二:重稀土离子交换回收装置——守住品质,筑牢防
行业痛点:重稀土储存氧化损耗难题
如果说铂族元素是“贵金属明星”,重稀土元素就是现代工业的“维生素”。作为原子序数较高的稀土元素,重稀土在地壳中储量稀少、价值高昂,广泛应用于新能源、高端芯片、精密制造等战略领域。
但在重稀土离子交换回收后的储存环节,传统方式始终面临两大难题:人工摊平物料不仅耗时耗力,还难以保证物料均匀;容器密封性差,导致空气渗入,重稀土易氧化、损耗,直接影响资源价值。
技术赋能:智能摊平+极致密封,守护资源价值
科海思重稀土元素离子交换回收装置的推出,为这一问题提供了切实可行的解决方案。装置内置振动电机,无需人工干预,即可自动将回收后的重稀土均匀摊平,有效减少物料内部的空气与缝隙;同时优化密封结构,通过密封胶条与密封槽的精准贴合、插锁固定等设计,最大限度隔绝空气进入,从储存环节筑牢重稀土的“保鲜防线”,大幅提升回收品质,减少资源损耗。

双轮驱动:以技术创新引领资源循环新趋势
从贵金属到战略金属,从回收效率到储存品质,科海思两项专利形成精准互补的技术布局,全面覆盖高价值资源循环利用的关键节点——湿法冶金回收铂族元素装置主攻“高效回收”,破解回收环节效率瓶颈;重稀土元素离子交换回收装置聚焦“品质守护”,解决储存环节损耗难题,双轮驱动之下,既彰显了科海思在稀缺金属回收领域的技术深耕与创新实力,更构建起“高效回收+品质保障”的全链条技术服务体系。
金价飙升的背后,是全球对稀缺资源价值的重新认知,更是循环经济发展的必然趋势。在战略金属需求持续攀升、绿色发展成为行业共识的今天,科海思以两项突破性专利技术为支撑,深耕“城市矿山”开发利用,用更优的回收解决方案,帮助客户最大化挖掘稀缺金属价值,实现经济效益与环保效益双赢。
您是否面临贵金属或重稀土回收效率低、损耗大的行业痛点?想了解两项专利技术如何适配您的生产场景、助力降本增效?欢迎联系我们,科海思技术团队将为您提供一对一专属解决方案,共赴资源价值重构的新蓝海!
了解水处理工艺或案例详情
请扫描下方二维码
技术热线:400-838-8151
